试验机厂为大家介绍军用液压试验机的特点

试验机厂为大家介绍军用液压试验机的特点

现在压力试验机的应用领域很大,类型不断增多,其中液压强度试验机的应用很多,在军事领域也有所涉及,下面试验机厂为大家介绍一下军用液压试验机的特点。
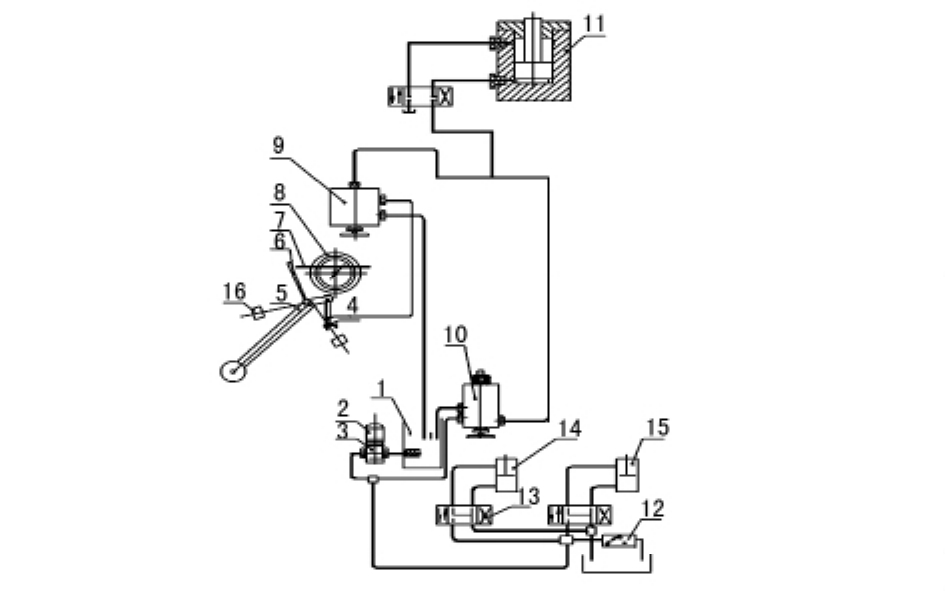
迈捷为大家介绍液压全能试验机的液压控制系统

迈捷为大家介绍液压全能试验机的液压控制系统

液压全能试验机的液压控制系统由测力计主、副油箱,SCY14-1B手动变量泵、送油阀、液压分配器、回油阀、测力油缸、工作油缸、液压夹头等组成,液压原理图,如图4所示。
压力试验机指针零点的调整问题

压力试验机指针零点的调整问题

压力试验机指针零点的调整问题是试验机设备设计中一个很重要的问题,在进行设计时,压力试验机厂家对于这一块内容都会很细致,避免出现一丁点差错。因为一旦出错,试验机的性
改造压力试验机要注意些什么?

改造压力试验机要注意些什么?

压力试验机厂家--济南迈捷试验设备有限公司告诉大家改造压力试验机要注意些什么。
液压全能试验机的主机结构及运行过程

液压全能试验机的主机结构及运行过程

现在市面上的压力试验机有很多种类型,其中比较常见的就是液压全能试验机和电子全能试验机了,今天压力试验机厂家为大家讲述的是液压全能试验机的相关内容。下面大家就跟济南
压力试验机的电液比例阀阀芯堵塞了怎么办

压力试验机的电液比例阀阀芯堵塞了怎么办

压力试验机厂家--济南迈捷试验机告诉大家压力试验机的电液比例阀阀芯堵塞了该怎么办。
压力试验机的软件故障及其解决措施

压力试验机的软件故障及其解决措施

压力试验机厂家--迈捷为大家讲述一下压力试验机的软件故障及其解决措施,希望对大家有所帮助。
迈捷总结压力试验机的硬件故障并给出解决措施

迈捷总结压力试验机的硬件故障并给出解决措施

压力试验机厂家--济南迈捷试验机为大家总结了一些压力试验机的硬件故障并给出了相应的解决措施,希望对大家有所帮助。
压力试验机的保养五重奏

压力试验机的保养五重奏

压力试验机厂家--济南迈捷试验机在这里为大家介绍压力试验机的保养五重奏,希望大家对于压力试验机的保养能够重视起来。
压力试验机调平性能的检定要求及方法

压力试验机调平性能的检定要求及方法

说起压力试验机,那我们就不得不说一下压力试验机的调平性能了,这一点对于试验机来说是很重要的,下面压力试验机厂家--迈捷为大家说一说压力试验机调平性能的检定要求及方法。
迈捷讲解液压全能试验机的屈服强度判断

迈捷讲解液压全能试验机的屈服强度判断

现如今, 液压全能试验机 的应用已经十分的普遍了,而屈服强度作为该类设备的一个很重要的参数,备受人们的关注,关于屈服强度的判断,迈捷为大家总结了三个判别技巧,大家可
抗压强度试验中压力试验机偏载性能的分析和测

抗压强度试验中压力试验机偏载性能的分析和测

许多建材在投入使用前都需要进行抗压强度的试验,比如砖砌体、水泥、混凝土(砼)等。抗压强度作为其重要的物理性能,直接指导着水泥及混凝土制造厂的生产和建筑设计院的设计,
抗压强度试验中压力试验机偏载性能的分析和测

抗压强度试验中压力试验机偏载性能的分析和测

许多建材在投入使用前都需要进行抗压强度的试验,比如砖砌体、水泥、混凝土(砼)等。抗压强度作为其重要的物理性能,直接指导着水泥及混凝土制造厂的生产和建筑设计院的设计,
基于VB的一种压力试验机可视化测试软件

基于VB的一种压力试验机可视化测试软件

压力实验是生产中常用的实验环节,作为保证产品质量的有力措施,企业对实验的可靠性和有效性非常重视。依靠提高实验的次数和严格的实验条件,从单方面苛求完好,到了一定的阶段必然
液压全能试验机有哪几大部分组成

液压全能试验机有哪几大部分组成

液压全能试验机是现在比较畅销的材料试验机,可以检测各种材料,很多人在选购液压全能拉力试验机之后,但是都不太明白液压全能试验机的组成部分有哪些,因此在出现问题时,就
选购全能试验机,需要考虑多种因素

选购全能试验机,需要考虑多种因素

材料力学性能检验,离不开全能试验机。目前市场上成熟的全能试验机主要有液压式全能试验机与电子式全能试验机两种类型。这两种产品在试验机行业均有多年的发展历史,其成品除
压力试验机前使用前需要注意的4点事项

压力试验机前使用前需要注意的4点事项

在科技快速发展的现在,我们身边充斥着各种的精密仪器,比如试验机,试验机的普及带动了许多工业的发展,各行各业都需要使用试验机,常用的试验机有电子拉力机、液压全能试验
压力试验机使用过程注意的4个问题

压力试验机使用过程注意的4个问题

压力试验机 是试验机中的一种类型,主要是测试试样的压力问题,从而了解试样材料能承受压力范围。很多人不了解压力试验机,尤其是使用注意事项,不知道该如何正确使用。因为如
压力试验机经常会出现的故障维修

压力试验机经常会出现的故障维修

压力试验机 是精密性检测设备,使用一年或者几年后需要进行精度调试,保证试验的准确性,使用时间越长出现的小问题也会更多,所以我们平时要对设备进行保养,也需要了解一下压
正确保养电子全能试验机的方法!

正确保养电子全能试验机的方法!

电子全能试验机是目前比较常见的教学检测设备,主要是提供给高等院校、科研机构等。由于其以教学为目的,其使用率也就相对很高。

山东精诚工业自动化设备有限公司 版权所有

备案号:鲁ICP备2025148310号

咨询热线:18668952203

联系我们

  • 邮箱:sdjcgysb@163.com
  • 手机:18668952203
  • 手机:15653138501
  • 公司地址:山东省聊城市莘县河店镇马桥工业园西首路南

关注我们